Фрезерний верстат STOMANA T1002S
ПРИЗНАЧЕННЯ:
Призначений для виконання різноманітних фрезерних робіт по дереву, зарізу простих шипів і вушок за допомогою шипорізної каретки, поздовжнього фрезерування по напрямних лінійках, криволінійного фрезерування за шаблоном і фрезерування кінцевим інструментом.
ОБЛАСТЬ ЗАСТОСУВАННЯ:
Ідеально підходить для підприємств і цехів по виробництву столярний-будівельних виробів, меблів і інших деревообробних виробництв.
СХЕМА ОБРОБКИ:
| Поздовжнє фрезерування | Фрезерування шипів та проушин | Криволіинійне фрезерування по шаблону | Фрезерування кінцевими фрезами |
![]() |
![]() |
![]() |
![]() |
КОНСТРУКТИВНІ ОСОБЛИВОСТІ:
![]() |
ЗМІННИЙ ШПИНДЕЛЬ МК4 Зручна зміна шпинделів під різні посадочні діаметри фрез: 30, 32, 40, 50 і шпиндель для кінцевих фрез. Дозволяє в одному верстаті мати шпинделі різних діаметрів і працювати кінцевим інструментом. Зручно коли фрези мають різні посадочні діаметри, а зібрані комплекти фрез можна міняти разом зі шпинделем, не знімаючи їх. У комплекті поставляється 2 шпинделя: Ø32мм і для кінцевих фрез (під цангу ER32). |
![]() |
ШПИНДЕЛЬ ПІД КІНЦЕВИЙ ІНСТРУМЕНТ У комплекті з верстатом поставляється шпиндель під кінцевий інструмент з кріпленням під цангу ER 32. (Цанга і інструмент в комплект поставки не входять). Ключ для знімання шпинделя і ключ для затиску цанг ER 32 поставляються в комплекті з верстатом. |
![]() |
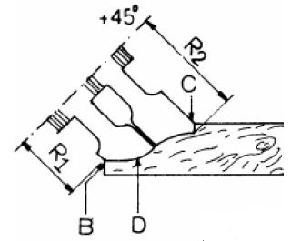
НАХИЛ ШПИНДЕЛЯ 0 - 45° Покращує якість обробки поверхні при різній глибині профілю на одній заготовці. Робота без нахилу: На верхньому малюнку швидкість в точці С значно більше швидкості в точці В, тому що R2 значно більше R1. Тому якість обробки поверхні D в точках В і С буде відрізнятися, а також може викликати перегрів поверхні заготовки і інструмента.
Робота з нахилом: При нахилі шпинделя швидкість в точках В і С практично однакова, тому що R2 не набагато більше R1. Це підвищує якість обробки і збільшує ресурс інструменту.
|
![]() |
СИСТЕМА ШВИДКОГО ПОЗИЦІОНУВАННЯ КОЖУХА Дозволяє швидко відновити задану настройку відображення напрямних після зняття кожуха. |
![]() |
МОТОРНИЙ ВІДСІК Привід шпинделя від потужного двигуна за допомогою 2-х клинових ременів. Литий чавунний стіл з ребрами жорсткості відмінно гасить вібрації і забезпечує точність обробки і жорсткість конструкції на весь період експлуатації. Шпиндельна чаша закрита захисним кожухом для кращого видалення стружки через підведений патрубок, що виключає її потрапляння в моторний відсік. |
![]() |
ПЕРЕМИКАННЯ ШВИДКОСТЕЙ Здійснюється шляхом швидкої і зручної перестановки ременів. Передбачено механізм жорсткої фіксації шпинделя при зміні інструменту. Індикація обраної частоти обертання за допомогою прапорця. 6 швидкостей обертання шпинделя: 10000, 8000, 6000, 5000, 4000, 3000 об / хв. Кінцевий вимикач виключає можливість включення станка при заблокованому шпинделі, що відповідає європейським нормам безпеки. |
![]() |
ШПИНДЕЛЬНА ЧАША Діаметр отвору в столі - 260мм. Це дозволяє опускати в стіл інструмент великого діаметру. Також великий діаметр чаші зручний при роботі з шпинделем під нахилом. |
![]() |
ЗАХИСНЕ ОГОРОДЖЕННЯ ШПИНДЕЛЯ
|
![]() |
ПУЛЬТ УПРАВЛІННЯ Винесений на рівні очей, на поворотній консолі. Зручний і інформативний. На пульті розташовані:
|
![]() |
НАЛАШТУВАННЯ КОЖУХА Налаштування відображення напрямних по міліметровим шкалами за допомогою зручних регульовальних гвинтів. |
![]() |
ТЕЛЕСКОПІЧНА ПОВОРОТНА ЛІНІЙКА
|
![]() |
ІНТЕГРАЛЬНІ НАПРАВЛЯЮЧІ: Дві напрямні лінійки загальною довжиною 1000 мм - ідеальна база при обробці. Виключений підрив деревини на краях тому висувні пластини скорочують відстань між лінійками і не дозволяють заготівлі провалюватися всередину кожуха. Додатковий захист рук оператора. |
![]() |
ЕКСЦЕНТРИКОВИЙ ПРИТИСК Фіксація заготовок на каретці за допомогою ексцентрикового притиску. |
![]() |
ПРИТИСК MORI Притискає заготовку в двох площинах: зверху до столу і збоку до напрямних лінійок, що забезпечує точність обробки і безпеку оператора.
|
![]() |
НАПРЯМНІ КАРЕТКИ
|
![]() |
СИСТЕМА БЕЗПЕКИ Відповідає європейським нормам. При відкритій кришці моторного відсіку спрацьовує кінцевий вимикач і блокує можливість включення станка (виділено зеленим). При зміні інструменту шпиндель стопориться спеціальним штоком, одночасно спрацьовує кінцевик (виділено червоним). Це блокує включення станка з застопореним шпинделем і дозволяє уникнути дорогого ремонту.
|
![]() |
АСПІРАЦІОННІ ПАТРУБКИ Перший аспіраційний патрубок розташований під столом для більш ефективного видалення стружки з шпиндельної чаші. Другий патрубок знаходиться в захисному кожусі шпинделя. |
![]() |
ПРЕДУСТАНОВКА ПІД АВТОПОДАТЧИК У столі передбачені 4 отвори з різьбленням для установки автоподатчика.
|
![]() |
ШИПОРІЗНИЙ КОМПЛЕКТ (В КОМПЛЕКТ ПОСТАВКИ НЕ ВХОДИТЬ) Складається із:
Приставка дозволяє:
|
![]() |
СТОПОР КАРЕТКИ Зручно використовувати при поздовжньому фрезеруванні або роботі за шаблоном, коли не потрібне переміщення каретки. Для зручного переміщення каретки передбачено дві рукоятки. |
КОМПЛЕКТАЦІЯ:
-
Алюмінієвий стіл (каретка) із загартованими сталевими напрямними.
-
Великий масивної чавунний робочий стіл.
-
Діаметр отвору в столі ø260 мм з аспіраційним патрубком для робочого столу.
-
Запобіжник для фрези з діаметром ø250 mm.
-
Інтегральні лінійки 500 мм.
-
Електронний лічильник оборотів шпинделя.
-
Пристрій для блокування шпинделя.
-
6 швидкостей обертання.
-
Фрезерний шпиндель з нахилом до 45гр.
-
Замінний шпиндель МК 4.
-
Електронне гальмо для електродинамічної зупинки.





































